
在深圳,离婚后财产分割主要依据《中华人民共和国民法典》婚姻家庭编及相关司法解释,同时结合深圳的经济特点(如房价高、金融资产多、公司股权常见等)。以下是深圳离婚财产分割的详细说明,包括房产、存款、股票、公司股权等常见财产类型的处理方式。
一、离婚财产分割的基本原则(深圳适用)
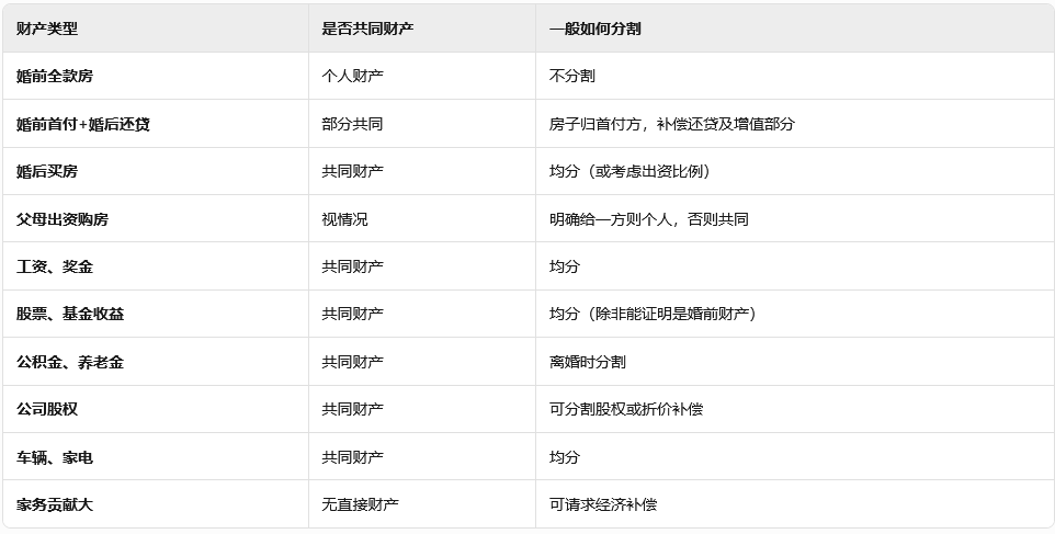
1. 财产分类
(1) 夫妻共同财产(原则上均分,但可调整)
根据《民法典》第1062条,婚姻关系存续期间取得的以下财产,一般属于夫妻共同财产,离婚时原则上均等分割,但法院可根据具体情况调整比例:
工资、奖金、劳务报酬(包括年终奖、加班费、兼职收入等);
生产经营、投资收益(如炒股收益、基金、商铺租金、公司分红等);
知识产权收益(如婚后发表作品的稿费、专利许可费);
继承或受赠的财产(但遗嘱或赠与合同明确只给一方的除外);
住房公积金、住房补贴(婚姻期间缴纳的部分属于共同财产);
养老保险个人账户中婚姻期间缴纳的部分(离婚时可分割);
其他应当归共同所有的财产(如婚后购买的车辆、家电、股票等)。
(2) 夫妻个人财产(不参与分割)
根据《民法典》第1063条,以下财产一般属于个人财产,离婚时仍归一方所有:
婚前个人财产(如婚前全款购买的房产、车辆,且婚后未混入共同财产还贷);
因人身损害获得的赔偿或补偿(如工伤赔偿、交通事故赔偿金);
遗嘱或赠与合同中明确只给一方的财产(如父母明确表示房产只给儿子);
专用的生活用品(如个人衣物、首饰);
*人的伤亡保险金、伤残补助金等(属于个人财产)。
二、深圳离婚财产分割的核心争议点
1. 房产分割(深圳核心问题)
深圳房价全国领先,房产往往是离婚财产分割的争议点。法院在处理房产时,主要考虑:
房产购买时间(婚前 or 婚后)
出资情况(谁出的首付、谁还贷款)
登记情况(登记在一方还是双方名下)
是否共同还贷
(1) 婚前买房
举例(深圳常见情况):
男方婚前首付300万买房,婚后夫妻共同还贷100万(深圳房价上涨后房产现值800万),离婚时:
房子归男方,但需补偿女方共同还贷部分(100万)及增值部分(约50~70万),总计补偿150~170万。
(2) 婚后买房
深圳高房价影响:
深圳房产增值快,即使婚前一方首付,婚后共同还贷部分及增值部分仍需补偿对方,金额可能很高。
2. 投资收益(股票、基金、理财等)
婚后炒股、基金、理财产品赚的钱,一般属于共同财产,离婚时均分;
如果投资资金完全来自婚前个人财产(如婚前存款炒股且未混入婚后资金),可能属于个人财产;
深圳法院会核查资金来源,如能证明是婚前财产,可能不分割。
3. 公司股权、合伙企业份额
婚后取得的公司股权(如深圳科技公司、创业公司),一般属于共同财产,离婚时可分割股权或折价补偿;
如果股权登记在一方名下,但属于婚后投资,另一方有权要求分割股权或获得相应补偿;
深圳法院常见处理方式:
直接分割股权(如双方协商一致);
一方拿股权,另一方拿折价款(如公司估值后补偿另一方50%);
拍卖/转让股权(少数情况)。
举例:
丈夫在深圳一家科技公司持有30%股权(婚后取得),离婚时妻子可要求:
平分股权(即各15%),但可能影响公司控制权;
丈夫保留股权,补偿妻子股权价值的50%(如公司估值1000万,妻子可得150万补偿)。
4. 公积金、养老金、保险
婚姻期间缴纳的住房公积金、养老保险个人账户部分,离婚时可以分割;
商业保险:
如果保费来自共同财产,离婚时可能分割保单现金价值;
如果是一方婚前购买且未用共同财产续保,一般属于个人财产。
5. 车辆、家电、存款
婚后购买的车辆、家电,一般均分;
婚后银行存款,一般均分,但如果能证明是婚前财产(如婚前存款一直未动),可能属于个人财产。
三、深圳法院分割财产的特殊考量
深圳房价高,房产分割影响大
深圳房产增值快,即使婚前一方首付,婚后共同还贷部分及增值部分仍需补偿对方,金额可能达数十万甚至上百万。
创业公司、股权分割常见
深圳是创业之都,很多夫妻一方或双方持有公司股权,离婚时股权分割是重点争议点。
高收入家庭抚养费 & 财产分割
如果一方收入极高(如年薪百万),法院可能判较高比例的抚养费或财产补偿。
恶意转移财产?少分或不分!
如果一方隐藏、转移、变卖共同财产(如偷偷卖房、转移存款),法院可判其少分或不分财产。
四、深圳离婚财产分割的常见处理方式
五、建议
保留证据(如房产证、银行流水、投资账户记录、公司股权证明等);
尽量协商,避免诉讼(深圳法院离婚案件较多,诉讼周期可能较长);
咨询深圳专业律师,尤其是涉及房产、公司股权、大额财产时,律师能帮你争取利益。
北京家理(深圳)律师事务所,全国统一服务电话:400-011-8982,官方网站:sz.jialilaw.com